


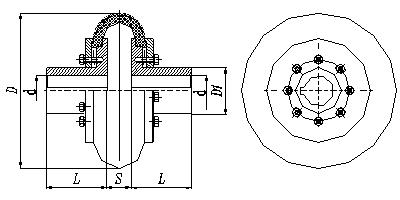
|
型號
|
公稱轉矩 Tn N.m
|
許用轉速(n) r/min
|
軸孔直徑 d1,d2
|
軸孔長度
|
尺寸 mm
|
螺栓
|
||
|
D
|
D1
|
B
|
||||||
|
LB1
|
10
|
5000
|
6-11
|
16-25
|
60
|
20
|
26
|
12-M4*12
|
|
LB2
|
50
|
5000
|
10-19
|
25-42
|
100
|
36
|
32/37
|
12-M6*18
|
|
LB3
|
100
|
4500
|
16-24
|
30-52
|
120
|
44
|
39
|
12-M8*20
|
|
LB4
|
160
|
4200
|
22-35
|
38-82
|
140
|
50
|
45
|
12-M10*20
|
|
LB5
|
224
|
4000
|
25-38
|
44-82
|
160
|
60
|
51
|
12-M10*22
|
|
LB6
|
315
|
3600
|
30-45
|
60-112
|
185
|
70
|
58
|
12-M12*25
|
|
LB7
|
500
|
3200
|
35-50
|
60-112
|
220
|
85
|
68
|
12-M12*28
|
|
LB8
|
800
|
2600
|
40-56
|
84-142
|
265
|
110
|
82
|
12-M12*32
|
|
LB9
|
1250
|
2200
|
45-71
|
84-142
|
310
|
120
|
106
|
12-M16*40
|
|
?
|
1600
|
2000
|
55-75
|
84-142
|
340
|
135
|
106
|
12-M16*45
|
|
LB10
|
2250
|
1800
|
60-85
|
107-172
|
400
|
150
|
124
|
12-M20*50
|
|
LB11
|
5000
|
1600
|
80-120
|
132-212
|
445
|
190
|
140
|
12-M20*56
|
|
LB12
|
10000
|
1200
|
100-150
|
167-252
|
550
|
238
|
172
|
16-M24*71
|
|
LB13
|
20000
|
1000
|
130-200
|
202-352
|
700
|
318
|
220
|
24-M24*71
|